Судя по последнему патенту, поданном EA в апреле 2020 года и одобренном в октябре 2021 года, разработчики планируют предоставить новый способ создания персонажей с помощью обработки изображений.
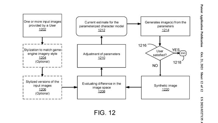
Как объясняется в патенте, разработчики задействовали технологию искусственного интеллекта, которая позволяет игроку выбрать одно или несколько изображений и после обработки преобразовать их в сима с соответствующими чертами лица.
Патент, представленный командой разработчиков и ученых в области искусственного интеллекта, возглавляет Игорь Боровиков (Igor Borovikov), который работал над такими играми, как The Sims 3, The Sims Medieval и The Sims 4. В патенте они использовали некоторые примеры из редактора создания персонажей The Sims 4, хотя это лишь пример того, какие черты лица могут быть учтены при создании персонажа по изображению.
Они также поделились основными параметрами, которые учитываются при создании персонажа: тело, лицо и его форма, прическа, волосы на лице, уши, брови, щеки, глаза, нос, рот, подбородок и челюсть.
EA теперь полностью владеет этой технологией, но, конечно, нет никаких указаний на то, когда эта технология может быть официально анонсирована. Учитывая, что для The Sims 4 запланированы ещё годы контента и что следующая часть серии уже находится в разработке, мы можем увидеть эту технологию в любой из этих двух игр.
Это не первый раз, когда EA пытается дать возможность создавать симов из реальных людей. Ещё в 2000-х годах существовал официальный инструмент для The Sims 1, который позволял загружать изображение и накладывать его прямо на лицо вашего сима! Однако результаты были разными, поскольку в игре не было реальных предустановок лица, поэтому ваши симы попросту ходили с jpeg-изображением на лицах. Тем не менее, тогда это был новаторский инструмент для игры!




